יומן שיפוץ 'שלגית' רנו 4 (1974)

קישורים מהירים: הקדמה הנעה ראשונה מעבר טסט פגושים ג'נטים פאנל קדמי תא מנוע חלונות ידיות רצפה ריפוד מערכת קירור בלמים פחחות צבע אחרית

הקדמה


בשנת 2009 השתתפתי עם הרנו 4 (1969) שלי בצילומים לסרט "ספר הדקדוק הפנימי" על פי ספרו של דוד גרוסמן. בצילומים השתתפו עוד מספר רכבי אספנות ובניהם הרנו 4 (1974) שהיתה כוכבת , לפי התסריט הגיבור היה צריך לשבור לה חלון קדמי. בסיום הצילומים עברה הרנו לחניה של חבר ששאל אם אני מתעניין ברכב, עניתי שכן ונערך משא ומתן ממושך. חצי שנה לאחר מכן (6/6/2010) כאשר החבר הזדקק למקום החניה קיבלתי אולטימטום "או שאתה קונה או שאני מחזיר אותה לבעליה", לא היתה ברירה , הרנו נרכשה ונגררה אחר כבוד לביתי. זו תהיה האחות הצעירה של "לימונית" ושמה בישראל יקרא "שלגית".
החלטתי לרשום יומן שיפוץ זה לצורך תיעוד עבודתי ובתקווה שהאינפורמציה הנ"ל תסייע למי שירצה גם כן לשפץ רנו 4.

בתמונות משמאל: הרכב כפי שהגיע ביום הראשון.




הערכת נזקים ראשונית: הרכב נסע מספר נסיעות קצרות לצורך צילומי הסרט, כך שרוב המערכות פועלות, המנוע התחמם במקצת ולכן יהיה צורך בניקוי יסודי של מערכת המים. יש מספר ריקבונות קשים ברצפה תחת החלון הקדמי ובקורות הדלתות. יש צורך בפחחות כללית לכל הרכב.
תוכנית עבודה: לבצע את כל מה שאפשר לבד, ובמקומות שאי אפשר לבד להיעזר באנשי מקצוע. לשם כך השלב הראשון להעביר את הרכב טסט. שלב שני לפרק כל חלק לבדוק מצבו ובמידת הצורך לנקות/ לשפץ/ לצבוע/ להחליף ולהחזיר. תוך השבתת הרכב לפרקי זמן קצרים. שלב שלישי לגשת לאנשי מקצוע לביצוע עבודות כמו תיקוני פח וצבע. אתחיל בעבודות הקלות ואתקדם לפי הקושי. לעזרתי אשתמש בספר הרכב WORKSHOP MANUAL המקורי של רנו וספר הינס לרנו-4 מהם נלקחו גם השירטוטים.

בתמונות משמאל: חורים ורקבונות בפח.



לראש העמוד ^

הנעה ראשונה

לאחר מספר ימים בהם הסרתי לכלוך עפר ומזיקים אחרים (כן מתחת לשטיחי הגומי הייתה מושבה של חרקים) וזרקתי לפח שאריות מהמחסן שהרכב הפך להיות. הגיע זמן בדיקת המנוע. כידוע לרכב היה טסט אחרון בשנת 2005 מאז הוא עמד בשדה.
בדיקת שמנים, מילוי חצי ליטר מים שהיה חסר, חיבור המצבר ו.... נגיעה בסוויטץ' - המנוע משתעל טיפה ממתין לדלק שיגיע מהמשאבה. ואז שפריץ רציני מצינור הדלק לכל הכיוונים. יש סדק בצינור בחיבור לפילטר. תוך דקה הצינור מקוצר ומנסים פעם שנייה. שוב נגיעה בסוויטץ' יש סטרטר יש דלק ו... יש. המנוע פועל !
כמה דקות, המנוע מגיע לטמפרטורת עבודה. כל חומרי הניקוי ששפכתי קודם מתחילים להעלות עשן. אבל המנוע עושה רושם טוב, אין עשן לבן, אין עשן שחור ונוזלים אחרים שיוצאים מהאגזוז. נראה תקין. יש רעש קל של חור במערכת הפליטה, הדוד והאגזוז נראים חדשים, כנראה מהמניפול.
ידוע לי (מידע מוקדם) שבנסיעה המנוע מתחמם, לכן בדקתי ברדיאטור סירקולציה של המים והיא נראית קצת חלשה, אני מקווה שזה רק רדיאטור סתום. בניסיון לנסוע הקשישה לא נותנת להכניס הילוך, האם הגיר דפוק? או הקלאטץ'? מכבים את המנוע, לחיצה על הקלאטץ' והילוך נכנס. ניסיון הנעה והגברת מקפצת, עוד ניסיון או שניים והקלאטץ' התפוס משתחרר. זהו אפשר לנסוע.

בכל מקרה עם כבר המנוע פועל אז עושים סיבוב ומזמינים את כולם לצילום משפחתי, הסבתא הזקנה "לימונית" 1969 ואחותה הקטנה ממנה בחמש שנים "שלגית" 1974 מסתדרות למסדר בוקר לאחר צחצוח וגילוח. גם הנינה הצעירה מגאן 2001 מתגנבת לצילום ונושאת בגאווה את סטיקר מועדון רנו 4 ישראל.




לראש העמוד ^

מעבר טסט

שלגית עברה היום (20/06/2010) טסט.
נחזור כמה ימים לאחור, הטלפון צלצל על הקו חבר מכונאי (שכבר טיפל בשלגית בעבר) מברך על הקניה ושואל אותי מתי אני מביא את הרכב לטסט? אחרי ההלם הראשוני, אני עונה מ...מ...מחר !!??
שמח וטוב לב הוצאתי במשרד הרישוי אישור תנועה זמני, כדי שאוכל לנסוע עם שלגית למוסך לבדיקה וטיפול לפני טסט. הרכבתי את הפגושים שכבר פרקתי ליישור וצביעה (וכמובן טרם הספקתי לטפל בהם) והתכוננתי לנסוע, להפתעתי הרכב לא זז, מה קורא פה לעזאזל? רק אתמול בערב נסע מצוין! מסתבר שהמשאבה האחורית שמאלית נתפסה. לאחר ניקוז שמן ואויר השתחררו הברקסים ונסענו למוסך.

החלפת גומיות ציריות והגה,
החלפת חלון קדמי שבור,
ניקוי מערכת מים,
טיפול בכבלים קרועים של מנורות,
טיפול יסודי בבלמים, סנדלים, בלם יד, משאבות.
איטום מערכת הפליטה.
צמיגים,
אישור מוסך,
וטסט.
לראש העמוד ^

פגושים

הערכת מצב: פגושים פגועים ממכות ושריטות, מחזיקים עקומים וחלודים גומיות פגוש חסרות.

פעולות שבוצעו: פירוק הפגושים (וחלקיהם), ישור הפגושים בעזרת פטיש וסדן, מאוד בעייתי כיוון שהפגושים עשויים ברזל עבה ומצופים ניקל כל פגיעה משאירה סימן. ישור המחזיקים בעייתי פחות. ניקוי הפגושים באמצעות חומר ניקוי והברקה למתכת. שפשוף המחזיקים והורדת שאריות חלודה וצבע עד למתכת. צביעה של המחזיקים ביסוד שחור מט, והרכבה עם ברגים חדשים מצופים. השלמת גומיות פגוש.


לראש העמוד ^

ג'נטים

הערכת מצב: נקודות חלודה רבות, צבע מתקלף, שוליים עקומים. צלחות פגועות ושרוטות נקודות חלודה בציפוי ניקל וכיסוי חלקי של צבע.

פעולות שבוצעו: הורדת הלכלוך עם מברשת פלדה, הורדת הצבע המתקלף והחלודה באמצעות נייר מים גס וניקוי עד לצבע היסוד עם נייר מים עדין, צביעה עם צבע מיוחד לג'נטים. אין אפשרות להחזיר את הצלחות למצב מקורי, בכל מקרה ישור הצלחות עם פטיש גומי וסדן קטן. ניקוי בחומרים חזקים להורדת הליכלוך והצבע. הברקה עם חומר ניקוי והברקה למתכת. הצלחות ישמשו באופן זמני עד להשגת צלחות במצב טוב יותר.




לראש העמוד ^

תא נהג - פאנל קידמי

כיוון שהרכב במצב נסיעה ואני רוצה לשמור על מצב זה, הוחלט שבשלב ראשון אביא את תא הנהג למצב סביר בו אפשר לנהוג ברכב. בשלב זה אטפל בכל החלק שמתחת לחלון הקדמי ועד הרצפה, כולל דשבורד, לוח שעונים, קונסולת חימום , מאורר ו, רדיאטור פנימי, מדפים, חיווט חשמל, מנוע מגבים, פח וצבע.

הערכת מצב: דשבורד - סדק בודד, אוזניים שבורות, ושני חורים שנקדחו, פלסטיק יבש ומלוכלך.
לוח שעונים - תקין פרט לתושבת מפסק שמאלי שבורה, מפסקי אורות ואיתות חשמלית תקינים, אוזנים לחיבור ללוח שעונים שבורים.
קונסולת חימום - פלסטיק יבש ומלוכלך, מאורר תקין, ברז רדיאטור חימום תפוס עם סימני קורוזיה ונזילה.
מדפים - פלסטיק יבש ומלוכלך מעבר לכך המדפים שלמים.
חיווט חשמל - מספר חוטים מנותקים, 'קומבינה' ליוניט איתות ולמשאבת שפריצר, שאריות של תוספות מפסקים שונים.
מנוע מגבים - לא פועל.
פח וצבע - בפח יש ריקבונות מתחת לחלון והפאנל צבוע בשחור על הצבע הלבן של הרכב בוצעו קדיחות בפאנל לצורך התקנות שונות, גומיות מעבר קרועות.

פעולות שבוצעו: דשבורד - הדבקת הסדק , בניית אוזניים וסתימת חורים עם אפוקסי מיוחד לפלסטיק + צבע שחור. חידוש הפלסטיק ע"י ניקוי יסודי עם מגבונים לחים והתזת מספר שכבות ספרי הגנת פלסטיק לרכב.
לוח שעונים - ניקוי ובדיקת נוריות ושעון דלק, מסגרת יציקת האלומינים השבורה שמחזיקה את המפסקים חוברה ע"י זויות אלומינים וברגים מיניאטוריים + דבק אפוקסי (בתמונה).
קונסולת חימום - טיפול בפלסטיק כמו בדשבורד, ברז רדיאטור פורק, הוחלף O-Ring מרוח בסיליקון גריז למניעת נזילה . צביעת לוח מתכת של מסגרת הרדיאטור (בתמונה). הושלם בורג ניקוז אוויר שהיה חסר.
מדפים - טיפול בפלסטיק כמו בדשבורד.
חיווט חשמל - ניתוק כל הכבלים המיותרים, השלמת כבלים חסרים לנוריות ושעון דלק. העתקת משאבת שפריצר מתא המנוע לפנל הקידמי עם חיווט מתאים.
מנוע מגבים - גומיה קרועה שהחזיקה את הקפיץ המותח את זרועות הפחמים הוחלפה והמנוע החל לפעול (בתמונה), ניקוי ושימון הצירים שמניעים את המגבים.
פח וצבע - ברנו 1969 הפאנל צבוע בצבע הרכב. בדגם 1974 הפנל נצבע גם כן בצבע הרכב ועליו צבעו צבע שחור מט . מבדיקה הסתבר שבדגמים המאוחרים יותר כך יצאו דגמי רנו 4 מהמפעל, כנראה כדי לשפר את מראה הגימור הפשוט של הרכב (משתלב יפה עם הדשבורד השחור). בכל מקרה הוחלט לצבוע בלבן כצבע הרכב. (בתמונה לפני ואחרי). הקדיחות בפח נסתמו עם סיליקון, גומיות מעבר קרועות הוחלפו. הרקבונות מתחת לחלון יטופלו בשלב הסופי, במסגרת הטיפול הכולל בפחחות וצבע.








לראש העמוד ^

תא מנוע

הערכת מצב: בעיקרון המנוע במצב מכאני תקין ואין צורך בשיפוצו. אבל מצב תא המנוע בכי רע, מלבד ליכלוך ושמן שרוף שיבש על כל חלקי המנוע (שנים של הזנחה ללא שטיפת מנוע ראויה). ישנם מספר "קומבינות" שנעשו כדי להמשיך ולנסוע ברכב: הוספת ממסר התנעה לסטרטר, ביטול מספר חיבורי חשמל לחיישנים, הוספת נגד הספק לקוייל, חיבור קפיץ בלם היד באוויר (כנראה חסר קפיץ נוסף). מגן הגיר סדוק ומעוך לחלוטין (הרכב כנראה שימש בשטח) עד כדי פגיעה בגיר, מוט הילוכים בגיר עטוף בצינור גומי כנראה לביטול חופשים. חלודה ברוב המכלולים יש צורך בניקוי החלודה וצביעה מחדש. מספר רב של תפסני כבלים שהיו מפלסטיק נשברו כמו גם תפסני המנואלה. צבע הפח דהוי ומלוכלך יש צורך בניקוי וצביעה מחדש. הוחלט שלא להוציא מנוע אלא לפרק כמה שיותר מכלולים (בעיקר בגלל תנאי העבודה), כך להגיע ולטפל ברוב חלקי תא המנוע.

פעולות שבוצעו: העבודה בוצעה במספר שלבים, פירוק רוב המכלולים המחוברים למנוע ולגוף הרכב בתוך תא המנוע. בדיקה ניקוי טיפול וצביעה של החלקים לפי הצורך. ניקוי המנוע חצונית ותא המנוע מליכלוך צבע ישן וחלודה. צביעת הפח במספר שכבות. שלב סופי הרכבה חזרה של כל המכלולים.

פירוק מכלולים - הפירוק התבצע בזהירות שלא לפגוע בהברגות חלודות או חלקי פלסטיק יבשים שעלולים להשבר בנגיעה. כל חלק שפורק נארז עם כל חלקיו להמשך בדיקה. נתגלו גם מספר בעיות, ברגים לא מתאימים בסעפת פליטה, ההברגה בראש מנוע של בורג חיזוק תומך המותחן של הרצועה פגומה ונדרשת הברגה חדשה או הליקוייל. פלגים לא מתאימים, תפסני פלסטיק רבים שבורים.

בדיקה וטיפול במכלולים - כל חלק שפורק נוקה בחומרים מתאימים. מתכות באמצות השריה בבנזין, חלקי פלסטיק במים וסבון. לאחר מכן נבדקו לשברים וסדקים, חלקי מתכת תקינים נוקו מחלודה באמצעות שיפשוף עד למתכת, במקומות קשים (מערכת פליטה) על-ידי ממיר חלודה, ולפעמים מספר פעמים. בצינור פליטה נתגלו חורים קטנים ובמגן הגיר סדקים גדולים. הנ"ל רותכו ונסתמו לפני המשך הטיפול. כל חלקי המתכת נצבעו בצבע מתאים, חלקים צמודים למנוע בצבעים עמידים לחום (עד C°600) וחלקים אחרים בצבע יסוד ולאחר מכן בצבע למתכת שחור מט .

ניקוי מנוע והכנה לצבע - המנוע והפח נוקו באמצעות בנזין להורדת השמן והליכלוך הקשה. מקומות קשים לניקוי נוקו באמצעות ספרי ניקוי קרבורטורים (שמנקה יפה גם לכלוך אחר) הפח עבר שיפשוף בנייר מים גס ולאחר מכן עדין. במקומות מסויימים היה צורך להוריד את הצבע עד היסוד ואפילו עד הפח. הפתח בפח ליציאת צינור הפליטה עבר התעללות, הפח נחתך וקופף והיה צורך לישרו ולהוסיף טבעת חיזוק מאלומינים שחוברה באמצעות ניטים. לאחר הכנת כל הפח לצבע, כוסה המנוע והמכלולים שאינם נצבעים בכיסוי מגן, כל מעברי הגומי בדופן תא הנהג והכבלים כוסו בסרט דבק נייר.

צבע - תמונה ראשונה (ימין למעלה) תא המצבר לפני צביעה. תמונה שניה (שמאל למעלה) נצבעו המקומות החשופים והחלודים באמצעות ספרי ממיר חלודה. זהו ספריי שקוף שעלפי היצרן במגע עם חלודה הופך לפריימר (יסוד) שחור. תמונה שלישית (ימין למטה) צבע יסוד אפור. תמונה רביעית (שמאל למטה) צביעה בצבע סופי , צבע רכב לבן בשלוש שכבות.

הרכבה - שלב ההרכבה נעשה בזהירות שלא לפגוע בצבע ובחלקים המחודשים. בעיקרון נעשה בסדר הפוך לפרוק. הושלמו חוסרים כמו הדבקת רצועות גומי מתחת למצבר ובקבוק המים, השלמת קפיצים, גומיות מעבר, חוטי חשמל, פיוזים, ברגים תפסנים וכו'.










לראש העמוד ^

חלונות

החלונות מתחלקים לשניים, חלונות קבועים בגוף הרכב וחלונות נפתחים בדלתות.

הערכת מצב:
חלונות קבועים - הזכוכית במצב טוב, ישנם לכלוכים ושריטות.
גומיות החלון שלמות עם סימני תחילת יובש. חומר אטימה בין החלון לגומי יבש ומתפורר. פס ניקל המשמש לנעילת הגומיה ולקישוט , איבד את הצבע לחלוטין, יבש ומתפורר. קיימים רקבונות בתושבות של החלונות הקידמי והצדדיים (בגוף הרכב) ונדרשת עבודת פחחות והשלמת התושבות לפני החזרת החלונות למקום.

חלונות נפתחים - כאן הבעיה קשה יותר. למרות שהזכוכיות במצב סביר, מסגרות החלון רקובות בחלקן . תעלות החלון מתפוררות לחלוטין ונדרשת בניה של המסגרות והתעלות מחדש.

פעולות שבוצעו:
חלונות קבועים - פירוק כל החלונות, ניקוי הזכוכית והברקה. כל הגומיות הושרו במים וסבון למספר ימים לריכוך הליכלוך. לאחר מכן ניקוי יסודי עם מברשת להוצאת כל הליכלוך וחומר האטימה שיבש והתפורר. הורדת שאריות צבע מתיקוני צבע ישנים.
הגומיות הנקיות נמרחו בחומר ניקוי לגומי/פלסטיק (חומר ניקוי לדשבורד) והושארו כך מספר ימים. לאחר ניגוב השאריות התקבלו גומיות רכות וגמישות כמו גומיות טריות.
תיקון הפחחות והצבע מבוצע ע"י בעל מקצוע, חיתוך כל הפח הרקוב בעיקר מתחת לחלון הקידמי בשני הצדדים והחלונות הצדדים האחוריים. השלמת הפח במקום החסר וריתוחו לגוף, החלקה, מילוי חומר וצבע עד לקבלת מראה גוף הרכב במקור.
הרכבת החלונות לאחר סיום עבודות הצבע. איטום רווחים בגומיות עם סופר 7 שחור, הרכבת פס הניקל חדש ולא לשכוח פחית כיסוי המגינה על קצוות הפס.

חלונות נפתחים - פירוק כל המסגרות, כל חלון מחובר עם 6 עד 9 ברגים לדלת. הפרדת החלונות מהתעלות ומהמסגרות מתכת. טיפול בזכוכית ובגומי כמו בחלונות הקבועים.
בתמונה ראשונה ניתן לראות את המסגרת הפגועה. בתמונה שניה אפשר לראות את שלבי תיקון המסגרת:
1 - חיתוך חלקים רקובים .
2 - השלמת החלק החסר עם פחית הגזורה בדיוק בגודל.
3 - הלחמת הפחית למקום עם בדיל.
4 - חיתוך עודפים ושיוף ליצירת קו אחיד.
לאחר תיקון המסגרות הם עברו ניקוי יסודי מחלודה וצביעה ביסוד וצבע שחור.
הרכבת תעלה חדשה. התאמה למסגרת החלון והכנה לברגים והרכבה לדלת עם ברגים חדשים. איטום בין הדלת למסגרת נגד חדירת מים עם סופר 7 שחור.










לראש העמוד ^

ידיות

הידיות הינם חלק קטן ופחות משמעותי בשיפוץ, אבל בהשקעה קטנה מאוד ניתן לקבל תוצאה מצויינת ולכן הקדשתי לנושא פרק נפרד.

הערכת מצב: הידיות בדרך כלל במצב טוב, פרט ללחצן פתיחה חסר בדלת ימין אחורית. הגומיות המבודדות בין הידיות לדלתות יבשות, קרועות וצבועות בצבע רכב מתיקונים קודמים. לגומי חשיבות רבה שכן הוא מונע חדירת מים לדלת מחיבורי הידית ומגן מפגיעה בפח מהידית עצמה. ידיות פנימיות תקינות, פלסטיק המגן על הנועל בדלת נהג שבור.

פעולות שבוצעו: בניסיון להשיג גומיות חדשות עבור הידיות ברכב, איתרתי חנות בצרפת המוכרת סט שלם, מבדיקה מולם התברר שהם מיצרים בעצמם את הגומיות. כיוון שעלות המשלוח יקרה באלפי אחוזים ממחיר הגומיות עצמם. החלטתי ליצר את הגומיות בעצמי.

בתמונה ראשונה ניתן לראות את הציוד הנדרש: פלטה גומי בעובי 0.8 מ"מ עמיד בתנאים קשים. מספריים טובות, טוש סימון, כלי חירור בגדלים שונים, ידיים יציבות וסבלנות.
מסמנים על פלטת הגומי את דוגמת החיתוך בעזרת הטוש וגומיה ישנה, גוזרים את הדוגמה. בעזרת מחורר בגודל המתאים יוצרים חורים עבור ברגי החיבור ועבור לחצן הפתיחה (תמונה שניה).
יש לשים לב שגודל החור עבור הלחצן קטן מגודל הלחצן כך מתקבל איטום טוב. את קצה הגומיה ניתן להחליק בעזרת נייר זכוכית אם נדרש.

ניקוי ידיות האלומינים משאריות צבע בעזרת אציטון.
הרכבת הידית בזהירות לא לפגוע בצבע, יש להרכיב קודם את הגומיה הגדולה על הלחצן ולוודא שהיא בולטת כמילימטר מכל צד של הידית. לסגור את הברגים עד שהידית לוחצת את הגומיה סביב סביב.
השלמת חלקים חסרים (לחצן + מגן פלסטיק)




לראש העמוד ^

רצפה

לרצפה שלושה חלקים: תא נוסעים קדמי, תא נוסעים אחורי, ותא מטען. כל חלק נמצא במצב שונה וכך גם הטיפול הנדרש. כמובן שכל הטיפול בפחחות נעשה ע"י פחח מקצועי.

הערכת מצב: תא נוסעים קדמי - הרצפה רקובה לגמרי ולמעשה לא קיימת. שכבת האיטום העשויה נייר זפת לא קיימת. שטיח הגומי שלם ברובו. נדרשת החלפה של כל הפלטה.
תא נוסעים אחורי - הרצפה במצב טוב יחסי, שלימה ללא חורים כלל. ישנה חלודה על המתכת. שיכבת האיטום מתפוררת ברובה ונראה שבוצע ניסיון תיקון ואיטום בעבר. שטיח הגומי קרוע.
תא מטען - ישנם שני חורים (רקבונות) בשני צידי הרצפה ליד הכנפיים הפנימיות. שאר הרצפה במצב טוב כולל צבע. שטיח הגומי שלם ברובו.

פעולות שבוצעו: תא נוסעים קדמי - כל חלקי הרצפה הרקובים הוסרו מהרכב. ובמקומם הותקנה רצפה מפלטת מתכת אחת שלימה, הרצפה חוברה למרכב סביב סביב. הרצפה החדשה נצבעה בחומר איטום (דמוי זפת קר) החומר מיושם בהתזה ויוצר מרקם מחוספס. (עד כאן בוצע ע"י פחח מקצועי) לאחר מכן נצבע בצבע שחור.
על הרצפה מונחת יריעת איטום ביטומנית (זפת) חדשה , גזורה לפי מידה ואיטומה בקצוות.
טיפול בשטיח הגומי - הטיפול בכל השטיחים מבוצע באותה שיטה. בכל הקום שיש קרע או חור יש להדביק טלאי גומי מצידו התחתון של השטיח.
החומרים הדרושים: חתיכת גומי של פנימית ישנה, דבק מגע, מספריים ונייר זכוכית.
אופן הטיפול: גוזרים טלאי מגומיית הפנימי בגודל שיכסה את כל הקרע/חור עם שוליים של 5 סנטימטר מכל צד. מניחים את השטיח עם הצד התחתון כלפי מעלה, משייפים את אזור הקרע ואת הטלאי עם נייר הזכוכית, לקבלת פני שטח נקיים ומחוספסים. מורחים דבק מגע על השטיח והטלאי . מחכים 10 דקות שייתיבש הדבק ואז מצמידים את הטלאי בלחיצה חזקה.
קדיחת חורים והרכבת כפתורים לעיגון השטיח לריצפה.
תא נוסעים אחורי - הוצאת כל שכבת האיטום המתפוררת שעל הרצפה, וניקוי יסודי . שיפשוף החלודה שעל הרצפה, צביעה בחומר ממיר חלודה. צביעה בזפת קר. על הרצפה מונחת יריעת איטום ביטומנית (זפת) חדשה , גזורה לפי מידה ואיטומה בקצוות.
טיפול יסודי בשטיח הגומי כמו בשטיח הקידמי.
תא מטען - טיפול בפחחות בחורים כולל ריתוך טלאים ,חומר פחחים, שיוף וצבע. צביעת כל הרצפה בתא המטען וכנפיים פנימיות בחומר איטום (דמוי זפת קר) החומר מיושם בהתזה ויוצר מרקם מחוספס. בוצע ע"י פחח מקצועי. טיפול יסודי בשטיח הגומי כמו בשטיח הקידמי. בתא המטען אין שכבת איטום (נייר זפת).










לראש העמוד ^

ריפוד

כאן נתקלתי בבעיות.
א. מישהו בעבר דאג להלחליף את כסא הנהג בכסא חדיש יותר. דגם עם גב מתכוונן ומשענת ראש. עד שאשיג כסא התואם לכסא הנוסע (בתמונה) לא אוכל להחליף ריפוד.
ב. פאנל הריפוד של דלת הנהג חסר ובמקומה הותקן דיקט מצופה סקאי, בעבודת הרכבה מכוערת למדי. כך שגם חלק זה אני מחפש.
עקב הבעיות הנ"ל החלטתי לדחות את עבודות הריפוד הנדרשות מרפד מקצועי (מושבים, תקרה) ולבצע אחזקה לקיים עד להשגת החלקים הנדרשים. לעומת זאת, מדף אחורי ופאנלים בתא המטען יעברו שיפוץ עצמי.

הערכת מצב: מושבים - כסאות קדמיים בלויים, קפיצים דורשים מתיחה, ספוג בלוי מאוד, וריפוד עם מספר קרעים קטנים . כסא נהג יוחלף עקב אי התאמה בדגם. מושב אחורי בלוי, ריפוד יבש במספר מקומות קרוע ומחורר.
מדף אחורי - כל הריפוד חסר, שאריות ספוג דבוקות לפח.
ריפוד דלתות - מלבד פאנל נהג שחסר , שאר הפנלים במצב מעולה, נדרש רק ניקוי יסודי.
פאנלים בתא מטען - כל הכיסוי התקלף, הבסיס עשוי קרטון עבה שכולו סדוק ושבור. הספוגים המבודדים בין הקרטון לפח מתפוררים.
תקרה - בתחילה התקרה היתה שלימה עם טלאי לא קטן ליד דלת אחורית (אפשר לחיות עם זה). דבר ששימח אותי מאוד, כיוון שהיא עשויה מחומר ודוגמה מקוריים. אבל בתהליך הפחחות היה צורך להגיע אל הגג מלמטה ולכן התקרה כעת סובלת ממספר קרעים ויהיה צורך להחליפה.

פעולות שבוצעו: מושבים - פירוק המושבים , ניקוי יסודי עם מים וסבון להוצאת ליכלוך, שימוש בחומר לטיפול בסקאי, לניקוי וריכוך הריפוד. הדבקת טלאים מסקאי מתאים על הקרעים והחורים, למניעת החמרת המצב. כל זאת עד להשגת כסא נהג מתאים, ומסירת המושבים להחלפת ריפוד.
מדף אחורי - פירוק המדף, ניקוי כל שאריות הספוג לקבלת מתכת נקיה וחלקה, צביעת המדף בצבע מגן.
את הריפוד היה צורך לשחזר ולשם כך נדרש משטח דק וקשיח, חתוך לפי שבלונה . אני בחרתי בפורמיקה. על המשטח מדביקים ספוג דק וקשיח, השתמשתי בחומר שנקרא סול, חומר זול, עמיד, קל לישום והכי חשוב נותן את המרקם הרך למחצה של המדף המקורי.
על הסול מותחים סקאי מתאים לריפוד ומדביקים לפורמיקה. את כל הפלטה שהתקבלה מדביקים למדף, ומקנחים בקאנט פלסטיק מגן.
ריפוד דלתות - טיפול בדומה למושבים, השלמת תפסנים חסרים.
פאנלים בתא מטען - טיפול בבסיס הקרטון, הדבקת כל הסדקים והשברים עם דבק פלסטי ונייר. לאחר יבוש תחת לחץ מתקבל בסיס ישר, חזק ועמיד. את הקרטון מצפים בסקאי מתאים לריפוד ומדביקים במתיחה מאחור. החלפת הספוגים המבודדים הישנים.
הפאנל מושחל למקומו בין החלון לפח ובחלקו התחתון מחובר לכנפיים הפנימיות עם זויות מתכת וברגים. הזוויות החלודות טופלו בהסרת חלודה וצביעה. התוצאה הסופית מרשימה !
תקרה - הדבקת הקרעים עם טלאים זמניים עד להחלפת התקרה כולה ע"י רפד מקצועי.






לראש העמוד ^

מערכת קירור

כפי שכבר נאמר בהקדמה, הרכב מתחמם ויש צורך לבצע טיפול יסודי למערכת הקירור. המערכת פשוטה: רדיאטור, משאבה, צינורות, בקבוק עודפים ורדיאטור לחימום פנימי.

הערכת מצב:
רדיאטור סתום - נדרש פתיחה וניקוי. משאבה - סימני "אכילה" באלומיניום בכוון היציאה. צינורות - תקינים. בקבוק עודפים - במכסה הבקבוק חסר השסתום לחץ. רדיאטור חימום - הברז תפוס וככל הנראה הרדיאטור סתום.

פעולות שבוצעו:
רדיאטור פורק ונמסר לניקוי/שיפוץ אצל מומחה. לאחר חזרתו נוקה נצבע והוברק.
משאבת מים - למרות סימני "האכילה" המשאבה מתפקדת וכרגע אין צורך בהחלפתה. בוצע שטיפה יסודית של מעברי המים במנוע, דרך המשאבה בעזרת לחץ מים. ואכן יצאו כמויות גדולות של בוץ וחלודה.
בקבוק עודפים - הבקבוק עשוי זכוכית, נוקה ביסודיות משאריות אבן וחלודה. הבעיה העיקרית היא שסתום הלחץ החסר במכסה. כיוון שלא נמצא מכסה חדש הוחלט לבנות שסתום עם קפיץ כוון ולכוונו ללחץ המתאים לפי נתוני היצרן.
רדיאטור פנימי - לאחר מאמץ רב, שוחרר הברז, הוחלפו גומיות ונוקה הרדיאטור. שחזר לפעילות תקינה.
כל המערכת הורכבה, בוצע "פלשינג" נוסף, מילוי נוזל קירור וכוון לחץ.







לראש העמוד ^

בלמים

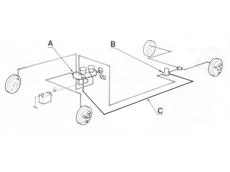
מערכת הבלמים מורכבת ממשאבה מרכזית כפולה "טנדם", כאשר יש הפרדה בין מעגל קידמי לאחורי. בקידמת המשאבה מורכב חיישן ירידת לחץ (A), המתריע לנהג על תקלה באחד המעגלים, ובמידה ויש נפילת לחץ במעגל הקידמי. נפתח גם שסתום המעביר לחץ למעגל האחורי דרך צינור (C) ועוקף את מקטין הלחץ האחורי (B).
במהלך נסיעות קצרות ובדיקות של הרכב, הדוושה קשה מאוד והברקסים נתפסים מדי פעם בכל הגלגלים.

הערכת מצב:
תופים ומשאבות גלגל במצב טוב. משאבה ראשית וחיישן נפילת לחץ דורשים שיפוץ, בגלל תפיסת הברקס.חיישן נפילת לחץ - פסול. הבוכנה הפנימית חסרה, למעשה החלק אינו מתפקד ושני המעגלים קידמי ואחורי חוברו יחדיו. גם הקו הנוסף למעגל אחורי שאמור לעבוד רק בחרום עובד קבוע.

פעולות שבוצעו:
משאבה ראשית נמסרה לשיפוץ.
חיישן נפילת לחץ (A) לא ניתן לשיפוץ ומקורי לא בנמצא. על כן הותקן חיישן דומה שלא קיים בו השסתום חרום. והקו הנוסף (C) בוטל זמנית על-ידי פקקים עד למציאת חיישן מקורי.


לראש העמוד ^

פחחות

כפי שתואר למעלה, הרכב עמד תקופה ארוכה בשדה ללא טיפול. באזורים רבים מבצבצת חלודה, חורים ורקבונות. הרכב נראה שתוקן בעבר ויש מכות בפח. הטיפול בפחחות נמסר לבעל מקצוע שישקם את כל הרכב.

הערכת מצב:
עקב ריבוי התיקונים שנעשו ברכב בעבר היה צורך להסיר את כל החומר פחחים הישן הסדוק והמתקלף עד לפח. כך שניתן להעריך את מצב הפח שמתחת. בכל חלקי הפח יש מכות קלות הדורשות ישור. כנפיים סדוקות. חורים ורקבונות קשים: כנף אחורית בחיבור לגוף, ליד צירי דלתות הקידמיות, בתחתית החלון הקידמי והצידי מאחור.

פעולות שבוצעו:
ראשית פורקו כל החלקים המורכבים על הגוף, חלונות, גומיות, קישוטים, פנסים, ניקלים, סמלים וכו' (תמונה 1). בכל המקומות הרגישים הוסר הצבע והחומר מתיקונים קודמים עד לפח (תמונה 2).

הבעיות טופלו בהתאם לרמת הנזק:
מכות בפח - יושרו בגג, מכסה מנוע וכנפיים.
סדקים - טופלו על ידי הלחמה ותוספת פח לחיזוק, בכנפיים קדמיות ואחוריות.
חורים ורקבונות בפח - נגזר הפח החלוד עד למקום בו יש פח שלם. הותאמו חלקי פח מתאימים לחורים שנוצרו, שהולחמו למקומם כנף אחורית פנימית (תמונה 3), קורות לייד צירי דלתות קידמיות (תמונה 4), מסגרת תחתונה של חלון קידמי (תמונה 6) וחלון צידי אחורי (תמונה 5).

הלחמות הושחזו ונמרח חומר לקבלת פני שטח חלקים. לאחר התקשות החומר, בוצעה החלקה ובתהליך החוזר על עצמו בוצעו תיקונים לפח ולחומר פחחים בכל הגוף עד לקבלת צורה ופני שטח מתאימים.
לאחר קבלת תוצאה רצויה בוצע צביעה עם חומר פחחים עדין בהתזה. ושוב החלקה עדינה לקבלת פני שטח חלקים ביותר לפני הצבע.












לראש העמוד ^

צבע

צביעת הרכב היא חלק אינטגרלי מביצוע הפחחות. כיוון שבוצעה עבודת פחחות נרחבת כך גם נדרש בצביעה, עבודה שנעשית על-ידי בעל מקצוע מומחה.

הערכת מצב:
ההכנה לצביעה בוצעה בשלב הפחחות, ועל כן נותר רק לבחור צבע מתאים.

פעולות שבוצעו:
בשלב הראשון נצבע כל הרכב בצבע יסוד לבן, בוצע בדיקה, תיקון והחלקה כהכנה לצבע סופי.
נבחר צבע רנו המתאים לשנת הדגם 1974 ולצבע המקורי של הרכב 389. לאחר צביעה בתנור, בדיקה ותיקונים. הועבר הרכב להרכבה של כל הפריטים שהוסרו לפני שלב הפחחות. לאחר כשבוע שהצבע יבש בוצעו תיקונים אחרונים ווקס לגימור סופי.




לראש העמוד ^

אחרית

מיום רכישת "שלגית" ועד סיום פרוייקט השיפוץ עברה שנה. במהלך שנה זו הושקעו ברכב עשרות שעות עבודה שלי וכך גם של בעלי מקצוע מומחים.
תהליך השיפוץ הינו חוויה מיוחדת במינה, מהנה ומאתגרת.
לעיתים הטיפול בחלקים ישנים דומה לארכאולוגיה. יש לחשוף ולפרק בזהירות רבה שלא ישברו חלקים שאין להם תחליף.
ואז לנקות, לתקן, לצבוע ולהחזיר את החלק למצבו המקורי, לעיתים תוך אילתור פתרונות מאתגרים.
אין ספק שהתהליך הארוך והמייגע מביא בסופו לסיפוק רב. כאשר הרכב המשופץ נוסע בכביש וסופג מחמאות וקריאות מכל עבר.

לצערי עקב מגבלות כלים, מקום וזמן לא יכולתי לבצע את כל הפעולות בעצמי, דבר שהיתי רוצה לבצע בעתיד.

למעוניינים לבצע שיפוץ רכב עצמי להלן מספר המלצות:
  • נדרש ידע בסיסי ומעלה במכונאות, חובה להצטייד בספרי הרכב המפרטים פירוק והרכבה של מכלולים.
  • להשתמש בכלי עבודה טובים והמתאימים לעבודות השונות, עבודה עם כלים לא מתאימים מסוכנת גם לעובד וגם לחלק.
  • לעבוד במקום עבודה המאפשר גישה נוחה לביצוע העבודה.
  • עבודה שאינה בגדר יכולת ביצוע עצמית, יש להעביר לבעל מקצוע מומחה, לא להתבייש לבקש עזרה.
  • לא לבצע קיצורי דרך או להשתמש בחלקים לא מתאימים, מביא בסופו של דבר לעבודה כפולה.
  • ולבסוף, נדרשת סבלנות רבה מאוד, ישנם תהליכים שלוקחים זמן, ויש סדר פעולות. לעיתים לא ניתן להקדים את המאוחר.
לכל המשפצים, בהצלחה.
רם מילון
ram@milons.co.il

לפני אחרי


לראש העמוד ^